Samenvatting:
Verduidelijk op basis van praktijkervaring in de techniek de verschillen en verbindingen tussen API 6D-pijpleidingkogelkranen en API 608-kogelkranen in termen van structureel ontwerp, prestatie-eisen, testmethoden, enz., zodat stakeholders van API-kogelkranen de bepalingen kunnen begrijpen en zich eraan kunnen aanpassen en vereisten van overeenkomstige productnormen.
Trefwoorden:
API-608; API6D; kogelkraan Lange afstandspijpleidingen; Procespijpleidingen; Behoefteanalyse;
Invoering
Wat kogelkraanproducten betreft, heeft het American Petroleum Institute twee standaardspecificaties, API 6D "Specificatie voor pijpleidingen en pijpleidingkleppen" en API 608 "Metalen kogelkranen met flens-, draad- en lasverbindingen", die beide gedetailleerde voorschriften en eisen bieden voor kogelkraan producten. Dit artikel geeft een voorlopige interpretatie van de voorschriften en vereisten voor kogelkranen in API 6D en API 608, en combineert technische praktijk om de verschillen en verbindingen tussen API 6D-kogelkranen en API 608 te verduidelijken in termen van structureel ontwerp, prestatie-eisen en testmethoden , enz., zodat relevante partijen zoals eigenaren, fabrikanten en toezichthouders van API-kogelkranen de voorschriften en vereisten van overeenkomstige productnormen kunnen begrijpen en zich eraan kunnen aanpassen.
1.De relatie tussen API 6D en API 608
API 6D-kogelkranen worden gebruikt in pijpleidingsystemen in de aardolie- en aardgasindustrie, waaronder lange olie- en gaspijpleidingen en diverse verzamelpijpleidingen, gelijkwaardig aan transport buiten de locatie, inclusief ASME B31.4- en B31.8-pijpleidingen, met een diameterbereik van NPS (4-60), waarbij het merendeel grote diameters heeft, waarbij meer dan 95% 10 inch of meer is. De drukniveaus zijn 150, 300, 400, 600, 900, 15002500 pond, en zijn over het algemeen vaste kogelconstructies met afgedichte inlaatuiteinden. API 608-kogelkranen worden gebruikt in aardolie-, petrochemische en industriële toepassingen, voornamelijk voor ASME B31.3-procespijpleidingen, met een diameterbereik van NPS (1/4 tot 24). De meeste van hen hebben kleinere diameters en drukwaarden van 150, 300, 600 en 800 pond. Het zijn over het algemeen drijvende kogelconstructies met afgedichte uitlaatuiteinden.
API 608 is een aanvullende ontwerp-, werkings- en prestatie-eis naast de vereisten gespecificeerd in ASME B16.34 "Kleppen met flenzen, schroefdraad en lasverbindingen", gericht op algemene industriële gebruikers. Vanwege het unieke karakter van pijpleidingtechniek over lange afstanden heeft het American Petroleum Institute de API 6D-standaard "Specificatie voor pijpleidingen en pijpleidingkleppen" ontwikkeld, die de verschillen in structuur en functie tussen API 6D-kogelkranen en API 608-kogelkranen specificeert.
API 6D- en API 608-kogelkranen hebben hun eigen kenmerken afhankelijk van de verschillende werkomstandigheden en eisen die worden gebruikt, en vormen samen de volledige kogelkraanspecificaties in de petrochemische industrie. Voer op basis van de technische praktijk een voorlopige interpretatie en analyse uit van de twee kogelkraanstandaarden.
Analyse van eisen voor kogelkranen
2.1 Structurele en functionele eisen
Kogelkranen worden op basis van hun bolvormige structuur onderverdeeld in zwevende kogelkranen en vaste kogelkranen. De typische structuur van een zwevende kogelkraan wordt weergegeven in figuur 1. De bol heeft geen ondersteunende as en wordt ondersteund door klepzittingen aan beide uiteinden van de inlaat en uitlaat van de klep. De klepsteel is beweegbaar met de bol verbonden. Wanneer de klep gesloten is, wordt de kogel onder druk van het medium naar de uitlaatzitting van de klep geduwd, waardoor deze wordt samengedrukt en afgedicht. Dit type kogelkraan is aan het uitlaatuiteinde (achter de klep) afgedicht en heeft de kenmerken van een eenvoudige structuur, gemakkelijke productie, lage kosten en betrouwbare werking. Het wordt veel gebruikt in procespijpleidingen.

(Figuur 1)
De structuur van de op de tap gemonteerde steunplaat van de kogelklep wordt weergegeven in figuur 2. De bol wordt ondersteund door een steunplaat die aan het kleplichaam is bevestigd, en de klepzitting is een klepzitting met zuigereffect. Onder de druk van het medium beweegt de klepzitting dichter bij de bol, waardoor de afdichtring van de klepzitting stevig tegen de bol drukt, waardoor een afdichtingsdrukverhouding ontstaat om het afdichtmedium te bereiken. De kracht die wordt gegenereerd door de druk van het medium vóór de klep op de kogel wordt volledig overgebracht op het lager, waardoor de kogel niet naar de klepzitting achter de klep zal bewegen, zodat de klepzitting geen overmatige druk zal dragen. Dit type kogelkraan is afgedicht aan het inlaatuiteinde (voorkant van de klep) en heeft de kenmerken van een klein openingsmoment en stabiele afdichtingsprestaties. Het is geschikt voor hogedruksituaties en situaties met grote diameters in pijpleidingen over lange afstanden.

(Figuur 2)
API 608 kogelkranen worden toegepast in procesleidingen in de petrochemische industrie, met als functie het aansluiten of afsluiten van het medium. De bedrijfsomstandigheden zijn vaak hoge temperaturen en druk, giftig en schadelijk, ontvlambaar en explosief, corrosief en continu gebruik, waarbij hoge eisen worden gesteld aan klepafdichting, materialen, corrosiebescherming en andere aspecten. API 608-kogelkranen hebben vaste kogelconstructies en zwevende kogelconstructies, waarbij doorgaans gebruik wordt gemaakt van zwevende kogelconstructies.
API 6D-kogelkranen worden gebruikt in pijpleidingen over lange afstanden. Vanwege het bijzondere karakter van pijpleidingen over lange afstanden hebben kogelkranen niet alleen de functie om het medium aan te sluiten of af te sluiten, maar moeten ze ook functies hebben zoals drainage, ontluchting, overdrukontlasting, vetinjectie en online lekdetectie. API 6D-kogelkranen hebben allemaal een op een tap gemonteerde kogelstructuur.
De afvoer- en ontluchtingsfuncties van API 6D-pijpleidingkogelkranen: (1) Controleer de afdichting van de klepzitting tijdens fabriekstests van de klep; (2) Voordat de pijpleiding in gebruik wordt genomen, verwijdert u het vuil uit de klepkamer; (3) Controleer tijdens bedrijf online de afdichting van de klepzitting; (4) Vervang tijdens noodreparaties de afvoer en ontluchting van de pijpleiding.
Om de veiligheid van noodreparatieconstructies te garanderen, de impact op het milieu te verminderen en de kosten van ontluchting te verlagen, is de afvoer en ontluchting van kogelkranen in pijpleidingen bijzonder belangrijk. Het is noodzakelijk om de drainage en ontluchting strikt te ontwerpen volgens de API 6D-specificatievereisten, en te voldoen aan de maatvereisten van de drainage- en ontluchtingspoorten in de specificaties. Kogelkraanzittingen met afvoer- en ontluchtingsfuncties, elke zitting is bestand tegen het totale drukverschil aan de buitenkant (DBB-functie), isoleert stroomopwaartse en stroomafwaartse media en zorgt voor een veilige afvoer en ontluchting.
API 6D-kogelkranen voor pijpleidingen moeten niet alleen functies hebben zoals drainage en ontluchting, maar ook een overdrukontlastingsfunctie in de middenkamer. Ze kunnen de DIB-2 klepzitting gebruiken om de overdruk naar de buitenkant van de klepzitting af te voeren of een veiligheidsontlastingsapparaat op het klephuis aan te sluiten. Om de afdichtingsprestaties van kogelkranen te verbeteren, kan een enkele klepzitting ook het totale drukverschil (DIB-1) aan elke zijde afzonderlijk weerstaan. Wanneer de stroomopwaartse klepzittingafdichting defect raakt, kan de stroomafwaartse klepzitting nog steeds betrouwbaar worden afgedicht.
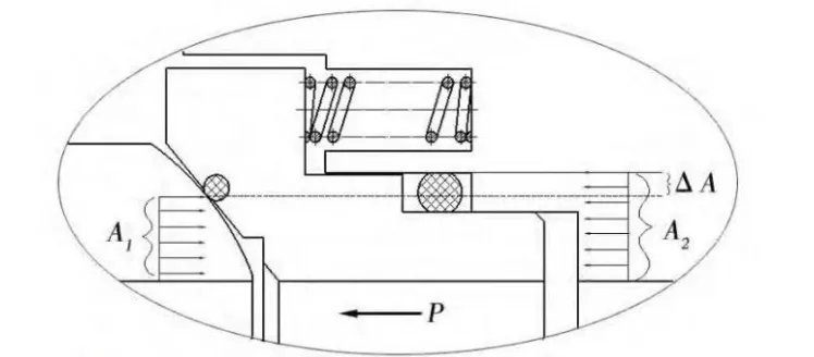
Om functies zoals afvoer, ontluchting en overdrukontlasting te bereiken en de betrouwbaarheid van de afdichting te verbeteren, zijn API 6D-pijpleidingkogelkranen ontworpen met klepzittingen met zuigereffect. Het principe van het zuigereffect van de klepzitting wordt getoond in Figuur 3. De kracht die wordt gegenereerd door het oppervlakteverschil (A2-A1=△ A) drijft de klepzitting aan om naar de bol te bewegen, waardoor een afdichting wordt gevormd.

(Figuur 3)
Het zuigereffect is verdeeld in een enkel zuigereffect en een dubbel zuigereffect. De klepzitting met enkele zuigerwerking kan het medium slechts in één richting afsluiten. De klepzitting met dubbele zuigereffect kan afdichting bieden voor zowel voorwaartse als achterwaartse vloeistoffen. DBB-, DIB-1- en DIB-2-functies worden bereikt door verschillende combinaties van klepzittingen met enkel zuigereffect en klepzittingen met dubbel zuigereffect, zoals weergegeven in Figuur 4.
Naast dat er volledig rekening wordt gehouden met de structuur van de klepzitting, moeten API 6D-kogelkranen voor pijpleidingen ook rekening houden met andere structurele ontwerpen of materiaalkeuze om de afdichtingsprestaties van de klep te garanderen. Maatregelen zoals het gebruik van een kleplichaamstructuur met grote opslagruimte, het vergroten van de diameter van de kleplichaamholte enz. moeten worden genomen om te voorkomen dat harde voorwerpen zoals zand en stenen lange tijd in de holte tussen de klepzitting en de bol blijven zitten. tijd in de pijpleiding, waardoor schade aan de klepzitting en de bol effectief wordt voorkomen. Bovendien heeft de klepzittingafdichtring met zuigereffect, gemaakt van rubber, een goed aanpassingsvermogen aan harde voorwerpen in de pijpleiding, waardoor permanente schade aan de afdichtring en afdichtingsfouten worden vermeden.

(Figuur 4)







